Телефон / Факс: 8 (812) 252-93-70
THE ENDLESS LIFE Мы гарантируем, что все изделия, когда-либо производимые нами, будут бессрочно доступны Вам для заказа

ВВЕДЕНИЕ К КНИГЕ "ПРОЕКТИРОВАНИЕ ФИЛЬТРОВ НА ПАВ" Т.И. ЧЕРНЫШОВА, Н.Г. ЧЕРНЫШОВ

На сегодняшний день акустоэлектроника является одним из активно развивающихся направлений функциональной электроники. Среди акустоэлектронных устройств широкое распространение получили устройства на поверхностных акустических волнах (ПАВ). Такие преимущества, как высокая надежность, малые масса и размеры, отсутствие энергопотребления, возможность выполнения различных операций обработки сигналов, реализация заданных технических характеристик, с высокой точностью обеспечивают широкое применение и массовую потребность в этих устройствах, и, прежде всего, рынком современных коммерческих средств связи.

Носителем информации в устройствах на ПАВ являются волны, у которых энергия упругих колебаний сосредоточена в тонком приповерхностном слое твердого тела. В качестве среды распространения используются пьезоэлектрические монокристаллы. Для преобразования электрических сигналов в акустические и обратно, а также для отражения и изменения траектории распространения акустических волн используются металлические структуры, нанесенные на поверхность пьезоэлектрической подложки. Возбуждение и прием акустических волн осуществляется с помощью входного и выходного преобразователей ПАВ, число электродов которых может быть различным (от единиц до нескольких тысяч).

Внешний вид устройства на ПАВ с одним встречно-штыревым преобразователем (ВШП) изображен на рис. 1. Отражательные структуры (ОС) ПАВ чаще представляют собой решетки металлических короткозамкнутых или разомкнутых электродов или систему вытравленных в подложке канавок. Доступность акустических волн на всем пути от входного до выходного преобразователя, способность отражаться от неоднородностей поверхности и взаимодействовать с электрическими и акустическими полями обеспечивают возможность построения различных устройств обработки сигналов.

Рис. 1. Устройство на ПАВ

Характеристики устройств на ПАВ определяются свойствами материала подложки и его топологией, т.е. типом, количеством, взаимным расположением и геометрическими размерами преобразователей и отражателей ПАВ.

Топология устройства зависит не только от выполняемой операции обработки сигнала, но и от требуемых технических характеристик. Число различных вариантов топологий современных устройств на ПАВ исчисляется сотнями.

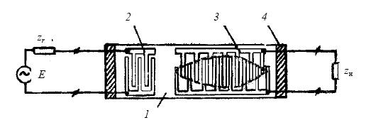
Устройства на ПАВ нашли применение в разнообразных радиоэлектронных системах, в частности в РЛС, в системах связи и радиовещания. Чаще всего такие устройства осуществляют процедуру линейной обработки сигналов, т.е. создают выходную реакцию, которая связана с входным сигналом с помощью заданного линейного соотношения. В теории систем такие устройства называют линейными фильтрами. Примерами служат линии задержки, полосовые фильтры, фильтры для корреляционной обработки сложных сигналов. Фильтр на поверхностных акустических волнах (ПАВ) (рис. 2) является твердотельным функциональным устройством и представляет собой подложку из пьезоэлектрика 1, на поверхность которой методом фотолитографии наносятся системы токопроводящих элементов.

Одна из таких систем – излучающий преобразователь ПАВ 2 – подключается к источнику входного сигнала, другая – приемный преобразователь ПАВ 3 – к нагрузке. Под действием высокочастотного электрического напряжения источника сигнала в зазорах между смежными электродами излучающего преобразователя возникает переменное электрическое поле, которое вследствие пьезоэффекта материала подложки вызывает механические колебания в ее поверхностном слое. Эти колебания распространяются в тонком приповерхностном слое подложки в направлениях, перпендикулярных электродам в виде поверхностных акустических волн.

Рис. 2. Схема фильтра на поверхностных акустических волнах

Между смежными электродами приемного преобразователя вследствие обратного пьезоэффекта механические колебания ПАВ обуславливают появление электрического напряжения, которое и является выходным сигналом.

С целью устранения нежелательных отражений ПАВ от торцов подложки, а также с целью ослабления других типов акустических волн, которые могут быть возбуждены излучающим преобразователем ПАВ, все нерабочие грани и ее торцы покрываются специальным звукопоглощающим покрытием 4.

Для уменьшения вносимого затухания фильтра часто применяют специальные согласующие цепи, которые включаются между источником сигнала и излучающим преобразователем, а также между приемным преобразователем и нагрузкой (на рис. 2 согласующие цепи не показаны).

Подложка с преобразователями и согласующие цепи при необходимости помещаются в общий корпус, в качестве которого обычно используется один из унифицированных корпусов микросхем. Характеристики фильтра на ПАВ в основном определяются частотно-избирательными процессами преобразования электрического сигнала в акустические волны и обратно, т.е. зависят от топологии преобразователей ПАВ, а именно: от количества, геометрических размеров и взаимного расположения электродов в преобразователе, от протяженности зон перекрытия смежных электродов (протяженности зазоров), от очередности подсоединения электродов к общим суммирующим шинам. Применяя ту или иную топологию преобразователей, можно реализовать фильтры с самыми разнообразными характеристиками.

По сравнению с другими типами фильтров, например, электрическими LC- или RC-типа, фильтры на ПАВ обладают следующими достоинствами:

  • возможностью реализаций различных достаточно сложных по форме АЧХ и ФЧХ при высокой точности обеспечения заданных параметров;
  • технологичностью изготовления, возможностью применения стандартных технологических процессов микроэлектроники;
  • высокой стабильностью параметров в процессе эксплуатации и надежностью работы, объясняющиеся тем, что фильтр на ПАВ представляет собой монолитное твердотельное устройство;
  • хорошей сопрягаемостью с блоками микроэлектронной аппаратуры;
  • малыми габаритами и весом.

К недостаткам фильтров на ПАВ относятся:

  • повышенная стоимость, так как они строятся, как правило, на монокристаллической пьезоподложке;
  • повышенный уровень вносимых потерь, так как их преобразователи обычно обладают двунаправленным излучением и приемом ПАВ, и поэтому менее одной четверти отдаваемой источником сигнала мощности достигает нагрузки.

Рис. 3. Диапазон возможных параметров фильтров на ПАВ

Удачный набор достоинств фильтров на ПАВ в значительной мере компенсирует их недостатки, поэтому в настоящее время фильтры на ПАВ практически не имеют конкурентов в широком диапазоне частот. На рис. 3 показан диапазон возможных параметров фильтров на ПАВ.


ОБЩИЕ СВЕДЕНИЯ О ФИЛЬТРАХ НА ПАВ

Нет, пожалуй, ни одной системы беспроводной радиосвязи, где бы сегодня не использовались фильтры на поверхностных акустических волнах (ПАВ). Эти фильтры используются и в маленьких и простых пейджерах, и в сложных приемниках для сотовой связи, телевизорах и оптоволоконных системах передачи данных. По назначению устройства на поверхностных акустических волнах можно разделить на несколько классов: полосовые фильтры для обработки сигналов на промежуточных частотах, линии задержки, резонаторы, фильтры с малыми потерями для входных цепей приемников, антенные дуплексоры для связных приемников, в том числе, систем AMPS, GSM, CDMA. В новом поколении сотовой телефонии IMT-2000 предполагается осуществить разделение доступа с помощью акустоэлектронного конвольвера. Здесь надо дать пояснение, что дуплексоры это двухканальные фильтры, которые осуществляют разделение по частоте тракта передачи и тракта приема. Дуплексор имеет один вход, соединенный с антенной, и два выхода, присоединенных к выходу передающего тракта и ко входу приемного тракта, соответственно. При этом частотные характеристики в передающем и приемном трактах имеют специальные характеристики для обеспечения максимальной развязки между трактом приема и передачи. Конвольвер это шестиполюсник, формирующий свертку двух сигналов: входного и опорного, используя нелинейные свойства среды распространения упругих волн.

Столь широкое применение объясняется малыми габаритами, незначительным весом, отсутствием энергопотребления, технологией изготовления совместимой с производством ИС, возможностью использования корпусов для автоматизированного поверхностного монтажа.

Фильтры на ПАВ имеют коммерческое применение на частотах от 30 МГц до 3 ГГц. На низких частотах габариты фильтров становятся слишком большими, поэтому вместо них находят применение монолитные фильтры на объемных волнах, выполненные из пьезоэлектрической керамики. На частотах выше 3 ГГц разрешающая способность фотолитографического процесса не позволяет получить высокий процент выхода годных изделий, и цена таких фильтров становится неконкурентной по сравнению с другими решениями. На высоких частотах применяются электромагнитные фильтры на связанных полостях, выполненные из керамики.

Большинство преимуществ ПАВ-устройств обусловлено непосредственно их физической структурой: малым весом и габаритами; линейной (или определяемой требованиями) фазой; фактором формы, приближающимся к единице (очень высокая прямоугольность); исключительным внеполосным подавлением; температурной стабильностью. Поскольку центральная частота и форма частотной характеристики определяются топологией, они не требуют сложной настройки в аппаратуре и не могут расстроиться в процессе эксплуатации. Технология изготовления, совместимая с полупроводниковым производством, позволяет выпускать их в большом объеме с высокой воспроизводимостью.

Физические основы

Поверхностные акустические волны были впервые описаны лордом Релеем в 1885. Распространяясь вдоль поверхости и проникая в глубину на расстояние 2-3 длины волны, именно этот тип волн является самым разрушительным при землетрясениях. Исследование ПАВ с целью применения для обработки радиосигналов начались в послевоенные годы, но вплоть до конца 70-х годов устройства на ПАВ использовались исключительно в военном оборудовании: радарах, космических системах связи. Высокая технологичность и стремительное развитие беспроводной телефонии в 80-е годы обеспечило этим устройствам широкое поле для применения в гражданских приложениях.

В простейшем применении трансверсальный фильтр на ПАВ состоит из двух преобразователей со встречными решетками проводящих электродов, расположенных на поверхности пьезоэлектрической подложки, например, монокристаллического кварца или ниобата лития (рис.1).

Рис. 1

Один из этих преобразователей возбуждает, а другой принимает рэлеевскую волну. Если подать на передающий преобразователь сигнал в виде дельта-функции, то импульсный отклик фильтра будет являться сверткой локальных импульсных откликов двух преобразователей. Расстояние между соседними электродами составляет половину длины рэлеевской волны. Скорость таких волн на пять порядков меньше скорости света. Отсюда становится ясно, что на маленькой подложке можно воспроизвести сотни или тысячи периодов требуемого радиоимпульса.

Основы дизайна фильтров

Теперь предположим, что требуется создать фильтр с прямоугольной частотной характеристикой, как показано на рис.2а.

Рис. 2

Импульсный отклик, соответствующий такой характеристике, показан на рис. 2б. Если воспроизвести топологию преобразователя в соответствии с этим импульсным откликом, то можно ожидать, что такой фильтр на центральной частоте, соответствующей периоду заполнения, будет иметь частотную характеристику, приближающуюся к заданной (рис. 2в). Конечно, для проектирования фильтров с малыми потерями и резонаторов используются более сложные методы.

Согласование с внешними цепями и подавление тройного эха

Обсуждение ПАВ-устройств было бы неполным без рассмотрения вторичных эффектов и их влияния на характеристики фильтров. Наиболее сильным нежелательным эффектом является сигнал тройного эха. Этот сигнал вызван отражением от преобразователей в силу двунаправленности последних. Многие инженеры предпочитают использовать ПАВ-фильтры без согласования с внешней нагрузкой, минимизируя тем самым пульсации в полосе пропускания. Однако, это допустимо в случае, если вносимые потери и отражение от электрических входов остаются приемлемыми. Другие инженеры используют простые катушки индуктивности, включенные параллельно или последовательно с преобразователями фильтра, компенсируя тем самым статическую емкость преобразователей. В этом случае, сигнал тройного эха может превысить допустимый предел, и пульсации в полосе пропускания станут чрезмерными. На рис. 3 показана частотная характеристика фильтра, включенного без согласующих цепей. Вносимые потери при таком включении составили в этой конструкции 25 дБ.

Рис. 3

На рис. 4 показана импульсная характеристика. Здесь первый (по времени) отклик это электромагнитная наводка. Плохая электрическая развязка между входом и выходом служит причиной быстрых пульсаций в полосе пропускания.

Рис. 4

Разработчик должен принять необходимые меры по экранировке между входом и выходом и хорошему заземлению корпуса. Второй отклик это полезный сигнал, который в целом определяет частотную характеристику. Третий по времени отклик тройное эхо. В результате интерференции всех трех сигналов, в случае неудачного включения, пульсации в полосе пропускания могут увеличиться больше допустимого предела. На рис. 5 показана частотная характеристика того же фильтра, но согласованного оптимальным образом. Вносимые потери уменьшились до 15,5 дБ, но пульсации увеличились. При этом быстрые и мелкие пульсации определяются интерференцией полезного сигнала и электромагнитной наводки, а плавные интерференцией между тройным эхо-сигналом и полезным.

Рис. 5

Обычно фирма-производитель рекомендует номиналы согласующих цепей для включения в 50-Ом тракт. Однако, при включении в тракт с комплексным импедансом выбор согласующих цепей становится задачей разработчика. Некоторые фирмы для своих фильтров предлагают библиотеки S-параметров, которые можно использовать в современных САПР для проектирования сквозного радиотракта (например, Serenade-Ansoft или Libra-Hewlett-Packard). В этом случае разработчик получает возможность проанализировать в программе влияние внешних цепей на результирующую характеристику и выбрать оптимальное решение.

Место и роль фильтров на ПАВ в приемниках

Классическая схема построения современного радиотракта может быть представлена на примере блок-схемы PCS-приемника, показанной на рис. 6.

Рис. 6

Приемник предназначен для работы в диапазоне 915 МГц, и в нем использованы два типа фильтров на ПАВ (915 и 70,875 МГц) и один керамический на объемных волнах. Требования к массогабаритным характеристикам и к избирательности не позволяют использовать классические конструкции с моточными изделиями. Фильтр на 915 МГц должен обладать малыми потерями и обеспечивать подавление зеркальных каналов не менее, чем на 50 дБ. Фильтр на частоте 70 МГц используется для обработки сигнала на первой промежуточной частоте. К нему предъявляются очень высокие требования по равномерности частотной характеристики в полосе пропускания. Для отстройки от соседних каналов от должен иметь очень крутые скаты и обеспечивать высокое внеполосное заграждение. Всеми перечисленными характеристиками обладает фильтр, разработанный для базовой станции сотовой связи с кодовым разделением доступа CDMA-ONE. Фильтр выполнен на ST-Кварце, который обеспечивает исключительную термостабильность.

Рис. 7

На рис. 7 приведены: модуль коэффициента передачи (а), импульсная характеристика (б), развернутая полоса пропускания (в) и отклонение фазы от линейной в полосе пропускания (г). Вносимые потери составляют 23 дБ, неравномерность частотной характеристики менее 1 дБ. Приведенные характеристики наглядно демонстрируют, что другими средствами невозможно обеспечить столь высокую прямоугольность наряду с хорошей неравномерностью в полосе пропускания.

Рис. 8

Помимо полосовой фильтрации, устройства на ПАВ используются и для решения более сложных задач. На рис. 8 приведен фрагмент радиочастотного тракта c I-Q модуляцией. Для выделения Q-канала использован дополнительный фазовращатель на 90.

Рис. 9

Существует эквивалентное и более красивое решение, использованное в отечественных разработках. На рис. 9 функции полосового фильтра и фазовращателя на 90 одновременно выполняет фильтр на ПАВ. При этом схема становится не только проще, но и не требует настройки фазовращателя.

Рис. 10

На рис. 10 показана частотная характеристика одного из каналов такого фильтра на 50 МГц с полосой пропускания 6 МГц. Разница фаз выходных напряжений в двух выходных каналах может быть отрегулирована внешними элементами с точностью до 0,3.

Рис. 11

При планировании коммуникационных сетей приходится учитывать реальную обстановку в эфире. Помехи, не попадающие непосредственно в спектр сигнала, могут ухудшать условия приема. Для борьбы с детерминированными помехами служат заграждающие фильтры. Они пропускают очень широкую полосу частот с малыми потерями, но не пропускают заданную узкую полосу частот. Такие фильтры проектируются на основе мостовой схемы, в плечи которой включаются резонансные элементы на ПАВ. На рис. 11 показаны примеры частотных характеристик устройств, предназначенных для кабельного телевидения.

Особый класс это фильтры с малыми потерями для входных цепей приемников. Такие фильтры используются на частотах от десятков МГц до 3 ГГц, а полосы пропускания от долей процента до 25%. Вносимые потери в таких фильтрах приближаются к 1 дБ. На рис. 12 показана частотная характеристика фильтра на 102 МГц с полосой 200 кГц. Этот фильтр выполнен на ST-Кварце, имеет вносимые потери 3 дБ и очень маленькие габариты.

Рис. 12


УСТРОЙСТВА НА ПОВЕРХНОСТНЫХ АКУСТИЧЕСКИХ ВОЛНАХ В СИСТЕМАХ И СРЕДСТВАХ СВЯЗИ

Рассмотрено применение акустоэлектронных устройств (АЭУ) на поверхностных акустических волнах (ПАВ) в различных системах и средствах связи:

  • фильтров с малыми потерями на ПАВ и ППАВ в качестве дуплексоров, ПАВ фильтров ПЧ, ПАВ фильтров, ПАВ резонаторов и генераторов, управляемых напряжением, ЛЗ на ПАВ для аналоговых и цифровых абонентских станций подвижных систем связи в стандартах CDMA, TDMA, WDMA и других;
  • ДЛЗ на ПАВ; ПАВ фильтров Найквиста для БС, РРЛ, РРС, ТВЧ, сотового и интерактивного ТВ;
  • канальных фильтров на ПАВ с малыми потерями, ПАВ фильтров ПЧ;
  • ПАВ модулей выделения тактового сигнала для волоконно-оптических линий связи в стандартах SDH, ATM, SONET; радиочастотных меток на ПАВ для идентификации транспортных средств и контейнеров.

Введение

В настоящее время в оконечных каскадах приёмопередающих устройств систем и средств связи в диапазонах частот от 1 МГц до 10 ГГц и выше проектируются, производятся и применяются устройства функциональной электроники (УФЭ) и прежде всего фильтры на различных физических принципах: радиотехнических на основе перестраиваемых LC-цепей; пьезоэлектрических; диэлектрических; магнито-электрических и других.

При этом используются самые разнообразные технологии с тем, чтобы в рассматриваемом диапазоне с относительно приемлемыми характеристиками реализовать важнейшую телекоммуникационную задачу - с хорошим качеством выделить полезный радиосигнал с целью его последующей обработки, в том числе с использованием УФЭ, для получения известных услуг.

К современным используемым видам входных фильтров и дуплексоров следует отнести:

  • монокристаллические кварцевые и танталато-литиевые фильтры;
  • фильтры на поверхностных акустических волнах;
  • LC-фильтры;
  • воздушные резонаторные фильтры;
  • воздушные резонаторные дуплексоры - сборка из двух фильтров, один для передачи (Tx), другой для приёма (Rx), связанных с одной и той же антенной;
  • керамические коаксиальные фильтры;
  • микрополосковые и полосковые фильтры;
  • программируемые и перестраиваемые фильтры.

Основным на этапе проектирования узла или блока системы является собственное программное обеспечение, которое в дополнение к автоматизированному проектированию моделирует фильтр и позволяет найти возможные решения исполнения узла (блока) с интегрированием дополнительных функций типа циркуляторов, ответвителей, адаптеров, нагрузок.

Основными системами, в которых возможно применение фильтров на частотах от нескольких МГц до 20 ГГц, являются следующие: AMPS, глобальная система связи с подвижными объектами (GSM), NMT450 - 900 MHz, DECT, системы многостанционного доступа с кодовым разделением каналов (CDMA), цифровая сотовая связь (DCS), персональная радиотелефонная связь (PCN), беспроводная локальная вычислительная сеть (Wireless LAN), сотовые базовые станции (cellular mobile base stations) и абонентские подвижные радиостанции (private mobile radios): TETRA, PMR, UMTS...

Фильтры реализуются на основе связи нескольких резонаторов. В случае ПАВ-техники это могут быть и электроды, выполненные в соответствии с условием акустического синхронизма. Трудность состоит в том, чтобы найти лучший возможный компромисс между числом резонаторов, полосой пропускания, вносимыми потерями, уровнем трёхзаходного сигнала и подавлением в полосе пропускания.

Увеличение числа резонаторов даст лучшее ослабление и/или увеличенную полосу пропускания, но более высокие потери. Увеличение числа элементов в резонаторе уменьшает потери, но увеличивает размер фильтра.

Из всего многообразия фильтров наиболее выгодно отличаются по характеристикам фильтры на ПАВ [2-18]. Этим можно объяснить наиболее продвинутый уровень их производства - более 8 млрд. долларов США в 2001 году. Известно, что, начиная с 1997–1998 гг., ежегодно разрабатывается свыше тысячи типономиналов акустоэлектронных устройств на ПАВ (АЭУ на ПАВ) с объёмом производства более 1000 млн. в год. В мире более 60 компаний имеют дело с изготовлением либо использованием устройств на ПАВ.


Применение АЭУ на ПАВ в системах и средствах связи. АЭУ на ПАВ - аналог или цифра?

Прежде, чем обсуждать возможные применения ПАВ-устройств, зададимся вопросом: чем являются АЭУ - аналоговыми или цифровыми (дискретными) устройствами?

Ответ на этот вопрос во многом определяет возможные применения АЭУ. В нашем понимании АЭУ являются гибридными (в том числе, рассматриваемыми здесь пассивными) аналого-цифровыми устройствами, поскольку поверхностные акустические волны возбуждаются в основном с использованием так называемых встречно-штыревых преобразователей (ВШП) (в англ. транскрипции Inter Digital Transducer, IDT) (рис. 1), являющихся по существу дискретной (циф-ровой) структурой.

Структура ПАВ с ВШП на пьезоэлектрической подложке.

Рисунок 1. Структура ПАВ с ВШП на пьезоэлектрической подложке

АЭУ, показанное на рис. 1, может рассматриваться, конечно, как пассивное аналоговое устройство, поскольку представляет собой металлическую плёночную структуру, выполненную на поверхности пьезоэлектрического кристалла, где происходит возбуждение ПАВ (преобразование входного электромагнитного сигнала в ПАВ), распространение ПАВ и их приём (преобразование ПАВ в электромагнитный сигнал). Однако, из-за дискретности структуры ВШП синтез спектральных характеристик такого устройства производится цифровыми методами [1]. Так, например, при синтезе спектральных характеристик АЭУ на ПАВ широко используются временные окна Хемминга, Дольфа-Чебышева, Ланцоши, Кайзера, Кайзера-Бесселя и многие другие, а также алгоритм Ремеза, хорошо известные в теории функций с финитным спектром.

Другим цифровым примером является фильтр Найквиста на ПАВ для квадратурной амплитудной модуляции (Quadrature-Amplitude-Modulation, QAM) цифровых радиомодемов.


Устройства на ПАВ, работающие на гармониках основной частоты

Базовыми характеристиками устройств на ПАВ, определяющими их применение в системах и средствах связи, является рабочая частота и уровень вносимых потерь. Для расширения частотного диапазона АЭУ, наряду с технологическими методами: поиском и синтезом новых пьезоэлектрических материалов с высокой скоростью распространения ПАВ, совершенствованием специального технологического оборудования и технологических процессов изготовления устройств на ПАВ, - эффективно использование возбуждения ПАВ на гармониках основной частоты (рис. 2) [3-8].

Варианты структур ПАВ с ВШП для работы на основной частоте и на гармониках.

Рисунок 2. Варианты структур ПАВ с ВШП для работы на основной частоте и на гармониках

Преимущества этого метода заключаются в следующем [3-6]:

  • снижаются требования к минимальным размерам, по крайней мере, в 3, 5 и более раз и, следовательно, при том же комплекте технологического оборудования - в 3, 5 и более раз повышаются рабочие частоты устройств на ПАВ;
  • в соответствующее число раз уменьшается число электродов ВШП и соответственно уменьшается действие вторичных эффектов, связанных прежде всего с переотражениями ПАВ, что в свою очередь уменьшает осцилляции в полосе пропускания устройства на ПАВ и улучшает такую аппаратную характеристику, как межсимвольная интерференция;
  • уменьшается уровень объёмных волн.

Существенным преимуществом таких устройств является также возможность использования низкодобротных индуктивностей или же возможность применять устройства на ПАВ без согласующих элементов, что существенно упрощает стыковку фильтров при их работе на общую нагрузку, как это имеет место в синтезаторах частоты [4].

При разработке ВШП на гармониках основной частоты вместо синтеза плавной огибающей импульсного отклика используется метод кусочной аппроксимации. Это приближение является достаточно точным при работе на гармониках 3, 5, 7 в случае синтеза узкополосных (менее 2% для ниобата и танталата лития, менее 0,5% для кварца и плёнок окиси цинка) фильтров наиболее распространённых конструкций с аподизованными ВШП [7], преобразователями с ёмкостным взвешиванием электродов [9-10].

В работе [7] впервые продемонстрирована возможность использования эффективного возбуждения ПАВ на гармониках для синтеза полосовых и широкополосных фильтров.


Классификация устройств на ПАВ

Исходя из возможных применений и принципов работы, ПАВ-устройства можно разбить на четыре общих группы:

  1. Пассивные резонаторы и резонаторные фильтры.
  2. Пассивные устройства с малым уровнем вносимых потерь.
  3. Пассивные устройства, использующие двунаправленные ВШП. IDTS.
  4. Нелинейные устройства.

Группа 1: Дуплексоры (от 1 до 4 Вт) для абонентских станций подвижных систем связи. RF-фильтры для межкаскадной связи. Резонаторные фильтры для односторонних и двухсторонних пэйджеров. Резонаторы и резонаторные фильтры для экстренной помощи: скорой медицинской и МЧС. Резонаторы и резонаторные фильтры для радиоидентификации автомобилей. Резонаторы и резонаторные фильтры для замков и защиты от несанционированного доступа. Устройства фиксированной частоты и настраиваемых схем генератора.

Группа 2: Фильтры с малым вносимым затуханием для оконечных каскадов приёмоперадющих устройств систем и средств связи. Фильтры промежуточной частоты (IF) с малым вносимым затуханием для систем и средств связи. Многомодовые частотно-избирательные генераторы для широкополосных систем и средств связи двойного назначения. Линии задержки с малым вносимым затуханием для маломощных приёмников с радиоразнесением во времени.

Группа 3: Фильтры Найквиста для цифрового телевидения и цифровой радиосвязи. Генераторы, управляемые напряжением (VCOs). Линии задержки. Дисперсионные линии задержки для ШПС. Дисперсионные линии задержки для ППРЧ. Линии задержки для кодового разделения каналов с многодистанционным доступом - CDMA (Code-Division-Multiple-Access). Линии задержки для временного разделения каналов с многостанционным доступом - TDMA (Time-Division-Multiple-Access). Фильтры для волоконно-оптической связи (Clock-recovery filters for fiber-optics communi-cation repeater stages)

Группа 4: Синхронный и асинхронный конвольверы для широкополосных систем и средств связи.


Аналоговые абонентские сотовые станции

На рис. 3 представлен AMPS аналоговый приёмопередатчик, содержащий шесть АЭУ на ПАВ. Как видно из рисунка, устройства на ПАВ используются для узкополосной частотной модуляции, осуществляя многодистанционный доступ с обнаружением несущей частотного разделения (FDMA). Дуплексор с полосами пропускания - 824–859 и 869–894 МГц фильтров Tx и Rx, обеспечивает приёмопередачу на 832 канала с разнесением каналов 30 кГц.

Блок-схема AMPS аналогового приёмопередатчика.

Рисунок 3. Блок-схема AMPS аналогового приёмопередатчика

Фильтры дуплексора выполняются, как правило, на приповерхностных акустических волнах (ППАВ) и имеют малые вносимые потери 1–2 дБ. ППАВ-устройствам здесь отдаётся предпочтение по отношению к ПАВ, поскольку они имеют большее проникновение в объём звукопровода, чем ПАВ, что продиктовано величиной рассеиваемой мощности абонентской станции 1–2 Вт.

Преселекторный фильтр Rx#1 должен иметь:

  • малые вносимые потери менее 3 дБ;
  • высокоизбирательную ширину полосы, чтобы предотвратить перегрузку следящего МШУ (LNA);
  • динамический диапазон приблизительно 120 дБ.

Фильтр RX#2, который может быть выполнен также на ППАВ, должен подавить гармоники, шум зеркальной частоты и шум усилителя.

Передающий фильтр Tx#1 должен "выдерживать" уровни мощности до 30 dBm. Фильтр Tx#2, который может быть выполнен тоже на ППАВ, требуется также для подавления шумов.

ПАВ используются также в генераторе управляемом напряжением (VCO) перед смесителем, в резонаторе и в фильтре промежуточной частоты (SAW IF Filter).

Поскольку разнесение каналов - всего 30 кГц, то к ПАВ-фильтру ПЧ предъявляются повышенные требования по избирательности и температурной стабильности. Как правило, такой фильтр исполняется на подложке температурно стабильного ST-среза кварца в виде двухзаходного резонатора, соединённого волноводом.


Цифровые абонентские сотовые станции

На рис. 4 показана базовая цифровая абонентская сотовая станция типа GSM (Global System for Mobile Communications), использующая фазированную демодуляцию (Quadrature-phase (I-Q) модуляция) и содержащая целых семь (!) ПАВ-устройств. Назначение входящих в неё RF-фильтров и управляемых напряжением генераторов (VCO) на ПАВ такое же, как в аналоговом варианте (рис. 3).

Рисунок 4. Блок-схема базовой цифровой абонентской сотовой станции типа GSM.

Рисунок 4. Блок-схема базовой цифровой абонентской сотовой станции типа GSM

В соответствии с принятыми стандартами, абонентская сотовая станция GSM имеет Tx ПАВ-фильтр в диапазоне частот 890–915 МГц, и Rx ПАВ-фильтр в диапазоне 925–960 МГц.

В отличие от аналогового варианта, показанного на рис. 3, цифровая система подвижной связи имеет только 124 канала, с 8 пользователями на один канал, с разнесением ВЧ канала 1250 кГц.


ПАВ-фильтры Найквиста

На рис. 5 показана блок-схема типового цифрового радиопередатчика с квадратурной амплитудной модуляцией QAM (Quadrature Amplitude Modulation).

Блок-схема типового цифрового радиопередатчика с квадратурной амплитудной модуляцией QAM.

Рисунок 5. Блок-схема типового цифрового радиопередатчика с квадратурной амплитудной модуляцией QAM

Назначение фильтра Найквиста на ПАВ состоит в уменьшении искажений на ПЧ, связанных с межсимвольной интерференцией ISI (Inter Symbol Interfe-rence).

Для компенсации спектральных искажений ПЧ фильтр Найквиста на ПАВ включает в себя также фильтр X/(sinX).

Отметим также, что нет необходимости выполнять ПЧ фильтр Найквиста на ПАВ только в цифровом радиопередатчике. Функции ISI фильтра Найквиста на ПАВ могут быть использованы (распределены) и в передатчике, и в приёмнике одновременно.


Фильтры антенных дуплексоров на ППАВ

В оконечных каскадах приёмопередающих устройств, прежде всего, в антенных дуплексорах, показанных на рис. 3 и рис. 4, целесообразно использование фильтров на приповерхностных акустических волнах (ППАВ) (Leaky-SAW, LSAW). Фильтры на ППАВ имеют те же преимущества, что и ПАВ-устройства:

  • малый уровень вносимых потерь - менее 3 дБ для Tx и Rx фильтров (рис. 3 и рис. 4);
  • высокий уровень подавления во взаимных диапазонах частот приёма и передачи радиосигнала;
  • низкий уровень боковых лепестков;
  • высокое подавление сигнала на зеркальной частоте и на частотах2-ой и 3-ей гармоник; очень малые массогабаритные характеристики.

Их выгодно отличает от ПАВ-устройств большая рассеиваемая мощность (не менее 1 Вт), технологичность (поскольку снижаются требования к поверхности звукопровода из-за приповерхностного характера распространения ППАВ) и расширенный частотный диапазон (из-за несколько большей скорости распространения ППАВ для некоторых срезов пьезоэлектрических кристаллов, например, 42º Y-X LiTaO3).

В качестве элементной базы для рассматриваемого класса устройств на ППАВ могут быть использованы одно-входные резонаторы, показанные на рис. 6; двухвходовые резонаторы; импедансные ПАВ или ППАВ-элементы с захватом энергии, подробно исследованные в [11,12].

Варианты структур одновходовых резонаторов на ППАВ в качестве импедансных элементов.

Рисунок 6. Варианты структур одновходовых резонаторов на ППАВ в качестве импедансных элементов

Легко видеть, что и одновходные резонаторы (рис. 6) также являются импедансными (LCR) элементами с захватом энергии и состоят либо из протяжённых ВШП [11,12], либо из ВШП и протяженных отражающих элементов: электродов или канавок.

На рис. 7 показана блок-схема дуплексора с использованием импедансных элементов на ППАВ, на рис. 8 представлена его АЧХ.

Блок-схема дуплексора с импедансными элементами на ППАВ.

Рисунок 7. Блок-схема дуплексора с импедансными элементами на ППАВ

АЧХ дуплексора с импедансными элементами на ППАВ.

Рисунок 8. АЧХ дуплексора с импедансными элементами на ППАВ


Широкополосные ПАВ-фильтры промежуточной частоты

Этот класс фильтров на ПАВ достаточно хорошо исследован и широко используется в различных системах и средствах связи. В качестве примера приведем на рис. 9 АЧХ широкополосного (50%) ПАВ-фильтра на промежуточной частоте 70 МГц для спутниковых систем связи INMARSAT-C. Такие фильтры реализуются, как правило, с наклонными ВШП (с углом наклона - менее 7 град. [2]). Их отличает экстремально широкая полоса пропускания (до 100%), большое подавление в полосе задержания (более 50 дБ), высокий коэффициент прямоугольности (1,1 и менее по уровням 1 и 40 дБ), малый уровень пульсаций АЧХ в полосе пропускания (~0,6 дБ) и линейная фазовая характеристика (рис. 9).

АЧХ широкополосного ПАВ спутниковой системы связи.

Рисунок 9. АЧХ широкополосного ПАВ спутниковой системы связи


Беспроводной приемник с разделением по времени

Сравним принципы действия рассмотренных выше супергетеродинных систем и системы с разделением по времени при радиоприёме с использованием ПАВ-устройств. На рис. 10 представлены базовые блок-схемы, реализующие оба способа:

  • супергетеродинный (single-conversion superheterodyne receiver);
  • с разнесением во времени (time-diversity receiver).
Базовые блок-схемы супергетеродинного приёмника (а) и приёмника с разделением по времени (b).

Рисунок 10. Базовые блок-схемы супергетеродинного приёмника (а) и приёмника с разделением по времени (b)

Как видно из рисунка, при приёме с разделением по времени не используется гетеродин (local oscillator) для преобразования сигнала с понижением частоты. Вместо этого выделенный RF ПАВ-фильтром полезный сигнал поступает в систему с временным разделением - линию задержки на ПАВ (SAW Delay Line). Время разделения сигнала управляется импульсным генератором (Pulse Generator), который поочерёдно переключает вкл./выкл. (Р+/Р-) усилители на входе и выходе линии задержки. Неодновременная работа RF усилителей исключает нежелательную обратную связь и обеспечивает устойчивость схемы.

Малые вносимые потери (менее ~3 дБ) ПАВ RF линии задержки обеспечиваются структурой ВШП, например, однонаправленными преобразователями ПАВ типа SPUDT (Single Phase Unidirectional Transducers). Это предназначено, чтобы провести сотни отсчётов в поступающие биты данных. Характерное время задержки ~0,5 мкс. Сигналы стробирующего импульса удаляются из полезного сигнала в детектирующем устройстве (detector stage). Качество обрабатываемого сигнала, полученного с разделением во времени, сравнимо с качеством, полученным супергетеродинным приёмом однократного преобразования. Приведём некоторые характеристики, реализованные в [15,16]:

  • центральная частота от 180 до 450 МГц;
  • 100-дБм чувствительность при скорости передачи данных 1,0 Кб/с;
  • 500-кГц минимальная полоса RF;
  • очень низкая потребляемая мощность.

Таким образом, рассмотренная здесь архитектура приёмника обеспечивает высокую чувствительность и очень низкую потребляемую мощность. Что касается рабочих частот, то они могут быть увеличены до 2–2,5 ГГц.


Волоконно-оптические сети и линии связи

ПАВ-модули выделения тактового сигнала могут с успехом применяться в различных системах и средствах связи. Один из примеров их применения - цифровые схемы регенератора для волоконно-оптических линий связи (ВОЛС), работающих в стандарте ATM (Asynschronous Transfer Mode) / SONET (Synchronous Optical Network) / SDH (Synchronous Digital Hierarchy), как это показано на рис. 11.

Блок-схема регенератора для ВОЛС в стандарте ATM.

Рисунок 11. Блок-схема регенератора для ВОЛС в стандарте ATM

Коэффициент ошибок "по элементам" BER (Bit-Error-Rate) в каждом ретрансляторе менее 10-11 при хорошей надёжности и большом сроке службы. В зависимости от используемой скорости синхронного способа передачи (STM) ВОЛС, выбирается центральная частота fb фильтра на ПАВ. Так, скоростям 155,52 Mб/с (STM-1), 622,08 Mб/с (STM-4) и 2488,32 Mб/с (STM-16) соответствуют центральные частоты fb = 155,52, 622,08 и 2488,32 МГц. Эффективная добротность Qs таких трансверсальных фильтров на ПАВ лежит в диапазоне примерно 700 < Q < 1500. Вносимые потери фильтров на ПАВ с линейной фазовой характеристикой составляют 15–20 дБ. Требуется одновременно очень небольшие осцилляции в полосе пропускания фильтра и высокая линейность фазочастотных характеристик. Таких характеристик могут достичь только ПАВ-устройства, работающие на основной частоте акустического синхронизма и выполненные на поверхности высокостабильного пьезоэлектрика, такого как ST-кварц или с использованием тонкоплёночных многослойных структур типа "диоксид кремния - оксид цинка - алмазоподобная плёнка - кремний". На высоких частотах - 1,5–2 ГГц и выше в некоторых случаях целесообразно использовать ВШП, эффективно работающие на 3-ей и даже 5-ой гармониках основной частоты. На рис. 12 представлена АЧХ такого ПАВ-устройства на частоте 2,488 ГГц.

АЧХ ПАВ на частоте 2,488 ГГц.

Рисунок 12. АЧХ ПАВ на частоте 2,488 ГГц

На рис. 13 показана блок-схема регенератора как базового элемента ВОЛС, использующего NRZ (Non-Return-To-Zero) модуляцию (или иными словами, схему ПАВ-модуля выделения тактового сигнала, показанного на рис. 11). Одна из частей продектированного электрического сигнала поступает в схему син-хронизации NRZ, где формируется синхросигнал на частоте fb, так как спектр сигнала NRZ имеет нуль на частоте fb и максимум на fb/2. Как следует из схемы рис. 13, часть дектированного сигнала сначала предварительно отфильтрована в пике спектра на частоте fb/2, затем этот фильтрованный выходной сигнал после устройства удвоения частоты поступает на вход ПАВ модуля выделения тактового сигнала с центральной частотой fo = fb.

Блок-схема регенератора как базового элемента ВОЛС.

Рисунок 13. Блок-схема регенератора как базового элемента ВОЛС

Следует отметить, что в целях хорошей компоновки и уменьшения массогабаритных характеристик, ПАВ-модуль и электронные компоненты, представленные на рис. 13, могут быть выполнены в виде единой гибридной интегральной схемы.


Радиоидентификация с использованием ПАВ устройств

ПАВ радиочастотные метки используются для идентификации широкой гаммы багажа или коммерческих транспортных средств и контейнеров.

ПАВ инспекционная схема (рис. 14) работает следующим образом. Передатчик посылает импульс радиосигнала высокой частоты (например, в 1000 МГц) на ПАВ радиочастотной метки на изделии, которое подлежит идентификации. ПАВ радиочастотная метка является пассивным элементом в виде кодированного встречно-штыревого преобразователя (ВШП) поверхностных акустических волн [14]. При этом может быть выбран определённый код, соответствующий только данному изделию, любой разрядности (например 128 бит).

Структурная схема инспекционного устройства на ПАВ.

Рисунок 14. Структурная схема инспекционного устройства на ПАВ

На рис. 15 показана увеличенная в 100 раз топология радиочастотной метки на ПАВ. ВШП реализует двоичный код 110011011. Передатчик импульса (рис. 14) посылает импульс опроса. После небольшого времени задержки ПАВ (~0,1 мкс), ВШП переизлучает кодированный 110011011, который затем обнаруживается радиоприёмным устройством, например, приёмником доступа в систему с временным разделением и схемой фазового детектора (рис. 10). Необходимо отметить, что для достоверной идентификации объекта необходимо, чтобы время распространения сигнала между передатчиком и ПАВ-меткой было больше, чем ВШП разрядность кода.

Топология радиочастотной метки на ПАВ.

Рисунок 15. Топология радиочастотной метки на ПАВ

ПАВ радиочастотные метки имеют ряд преимуществ, по сравнению со штриховым кодом оптического типа [14,17], в первую очередь, малые размеры, благодаря чему их практически невозможно визуально обнаружить, а также скрытность, поскольку они могут находиться внутри транспортного контейнера.


Заключение

Приведённые примеры показывают многообразие вариантов применения устройств АЭУ на ПАВ-системах и средствах связи. Улучшение их характеристик - диапазона рабочих частот, вносимых потерь, подавления сигнала в полосе задержания, неравномерности ГВЗ, массы, габаритов и стоимости - и повышение технологичности при их изготовлении происходит в следующих направлениях:

  • Перевод технологии изготовления АЭУ на новые пьезоэлектрические материалы - тетраборат лития и лангасит.
  • Развитие технологии получения интегральных слоистых структур для СВЧ АЭУ на резонаторах с использованием объёмных акустических волн (ОАВ).
  • Развитие технологии изготовления термокомпенсированных плёночных структур на пьезокристаллах с высоким коэффициентом электромеханической связи для АЭУ с использованием ПАВ.
  • Переход на технологию получения субмикронных топологических структур АЭУ методом проекционной литографии.
  • Развитие технологии получения интегральных слоистых структур на основе алмазоподобных плёнок (АПП) для АЭУ на ПАВ.
  • Разработка типовых технологических процессов изготовления АЭУ.
  • Разработка методов автоматизированного проектирования АЭУ на основе новых технологий.
  • Разработка АЭУ нового поколения: полосовых, узкополосных, широкополосных, импедансных, взвешенных, режекторных, многоканальных фильтров, фильтров для параллельных Фурье-процессоров, фильтров промежуточной частоты, резонаторов, фильтров сжатия, линий задержки, дисперсионных линий задержки и других с использованием новых технологий и методов.

Использование АЭУ нового поколения позволит адаптировать существующую аппаратуру к современным требованиям отечественного и мирового рынка.

Таким образом, областями применения разрабатываемых устройств на ПАВ являются практически все перспективные системы и аппаратура передачи и обработки информации нового поколения: подвижные, спутниковые, тропосферные и радиорелейные линии связи, спутниковое, кабельное, цифровое, сотовое телевидение и телевидение высокой чёткости.

Литература

  1. Рабинер Л., Гоулд Б. Теория и применение цифровой обработки сигналов. М.: Мир, 1978. 848 с.
  2. Морган Д. Устройства обработки сигналов на поверхностных акустических волнах. М.: Радио и связь, 1990. 415 с.
  3. Багдасарян А.С., Кмита А.М. Синтез узкополосных фильтров с использованием эффективного возбуждения ПАВ на пятой гармонике. Труды МФТИ, 1977.
  4. Багдасарян А.С. и др. Узкополосные фильтры на ПАВ. Труды Х Всесоюзной конференции по акустоэлектронике и квантовой акустике. ФАН. Ташкент, 1978. с. 189.
  5. Smith W.R. Basics of the SAW interdigital transducer. in J.H. Collins and L. Masotti (eds.) Computer-Aided Design of Surface Acoustic Wave Devices. Elsevier: New York, 1976.
  6. Smith W.R. and Pedler W.F. Funda-mentaland harmonic-frequency circuit model analysis of interdigital transducers with arbitrary metalization ratios and polarity sequences. IEEE Transactions on Microwave Theory and Techniques. November 1975. Vol. MTT-23. P. 853–864.
  7. Багдасарян А.С., Карапетьян Г.Я. Фильтр на основе ступенчатых встречно-штыревых преобразователей ПАВ. Радиотехника и электроника. 1989. Т. XXXIV. № 5. С. 1104–1107.
  8. Багдасарян А.С., Днепровский В.Г., Карапетьян Г.Я., Нестеровская В.Ю., Перевощикова Т.В. ПАВ-фильтры с трехфазными встречно-штыревыми преобразователями. Тезисы докладов XIV Всесоюзной конференции по акустоэлектронике и физической акустике твердого тела. Кишинев, 1989. Ч. 1. С. 182–183.
  9. Гуляев Ю.В., Багдасарян А.С., Кмита А.М. Acoustic Surface Wafe Transducer and Filter Built around this Transducer. US Patent 4,162,415. UK Patent 2 003 689 B. Republique Francaise Brevet D Invention 78 21723. Deutsches Patentschrift DE 2831584 C2. Japan Patent 1282169.
  10. Гуляев Ю.В., Кмита А.М., Багдасарян А.С. Преобразователи поверхностных акустических волн с емкостным взвешиванием электродов. Письма в ЖТФ. вып. 11. Т. 5. 1 1979.
  11. Багдасарян А.С., Карапетьян Г.Я. Импедансные фильтры на ПАВ. М.: Изд. Международная программа образования, 1998.
  12. Ruby R.C. et al Thin Film Bulk Wave Acoustic Resonators (FBAR) for Wireless Applications. IEEE International Ultrasonic Symposium. Atlanta. USA. 8. 2001.
  13. Багдасарян А.С. Импедансные ПАВ фильтры для сотовых систем связи. Системы и средства связи, телевидения и радиовещания. М. Вып. 1. 1998.
  14. Багдасарян А.С., Бурди А.И., Громов С.С. Технические средства идентификации автомобилей на основе акустоэлектронных устройств. Системы и средства связи, телевидения и радиовещания. М. Вып. 1. 2000.
  15. Colin K. Campbell, Surface Acoustic Wave Devices for Mobile and Wireless Communications. Academic Press: Boston. 1633 p. (ISBN № 0-12-157340-0).
  16. Endoh G., Ueda M., Kawachi O. and Fujiwara Y. High performance balanced type SAW filters in the range of 900 MHz and 1.9 GHz. Proceedings of 1997 IEEE Ultrasonics Symposium. Vol. 1. P. 41–44.
  17. Hartmann C.S. Future high volume applications of SAW devices. Proceedings of 1985 IEEE Ultrasonics Symposium. 1985. Vol. 1. P. 64–73.
  18. Campbell Colin K. Applications of Surface Acoustic and Shallow Bulk Acoustic Wave Devices. October 1989. Proce-edings of the IEEE.

Соблюдение стандартов ведения безопасной деятельности

Минимальная партия поставки фильтров и резонаторов - 5 шт

Яндекс цитирования